Экскаватор-погрузчик JCB оснащается стабилизаторами, которые обеспечивают устойчивое положение спецтехники при работе задней стрелой. Чтобы под весом поднимаемого груза машина не опрокинулась, выдвигаются специальные опоры, фиксирующие экскаватор-погрузчик в безопасном положении.
Управление опорами стабилизаторов осуществляется при помощи соответствующих рычагов, которые находятся на приборной панели в кабине оператора.

Техника безопасности и меры предосторожности
- Эксплуатация экскаватора-погрузчика возможна только при опущенных стабилизаторах. В противном случае техника будет сильно раскачиваться и может потерять равновесие.
- Управление стабилизаторами осуществляется независимо друг от друга. Каждый из них поднимается и опускается с помощью отдельного рычага.
- При неосторожности оператора тяжёлые стабилизаторы во время опускания способны нанести травму человеку или повредить различные объекты. Прежде чем опускать опоры на грунт, убедитесь, что рядом никого нет. Проверьте место, куда они опустятся, и уберите оттуда любые предметы, например, инструменты, личные вещи, строительный инвентарь.
- В процессе управления стабилизаторами оператор должен находиться в кабине и сидеть в кресле в правильной позиции. Не допускается работа органами управления, если оператор находится в неустойчивом положении или вне кабины, например, на подножке.
- Когда обе опоры окажутся на одном уровнем с экскаватором-погрузчиком, уменьшите нагрузку на задние колёса. Используйте ковш только одновременно с ними, чтобы обеспечить устойчивость во время рытья траншей, котлованов и выполнения других работ задней стрелой.
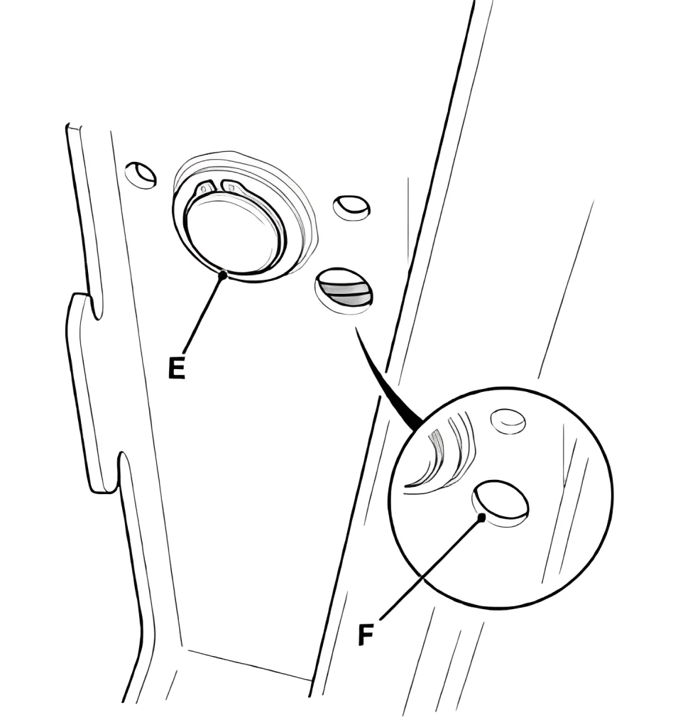
- Прежде чем приступить к движению, полностью поднимите опоры. Обратите внимание на рисунок: верхнюю часть правильно поднятой опоры можно увидеть в отверстии E, а если он не поднялся целиком, отверстие остаётся пустым F.

Управление стабилизаторами
- Для поднятия опор в положение A и C переместите рычаги вперёд.
- Для опускания опор в положение B и D отведите рычаги назад.

Управление стабилизаторами при работе на неровном склоне
Иногда экскаватору-погрузчику требуется выполнять земляные работы на неровном грунте, например, на склоне. В этом случае обеспечить устойчивое положение поможет опускание одной из опор или обеих, в зависимости от ситуации. С помощью стабилизаторов можно выровнять машину, даже если она установлена на крутом склоне, на краю котлована, траншеи, карьера.

Чтобы полностью выдвинуть опоры при работе на неровной поверхности, опустите стрелу на грунт. Кроме того, для установления устойчивого положения в некоторых случаях можно также попробовать поднять лопату вверх.
Световые индикаторы
Ряд моделей экскаваторов-погрузчиков марки JCB оснащается специальными светоиндикаторами, которые оповещают о состоянии опор стабилизаторов. Когда обе опоры находятся в опущенном состоянии и принимают на себя всю массу машины, загораются световые сигналы, свидетельствующие о безопасности машины.
Если ваша модель спецтехники оснащена системой световых индикаторов, после того, как вы опустили опоры и зафиксировали экскаватор-погрузчик, убедитесь, что сигнальные огни загорелись. В том случае, если индикаторы не засветились, поднимите опоры и опустите их снова, пока они не примут устойчивое положение. Запрещается использовать машину до тех пор, пока светоиндикаторы не загорятся. Если этого так и не произошло, необходимо срочно провести диагностику и определить причину неисправности. Эксплуатация экскаватора-погрузчика при этом не допускается.
Система предупреждения стабилизатора
Система предупреждает о выборе режима движения при опущенных либо не до конца поднятых опорах.
Если ваша модель спецтехники оснащена такой системой, необходимо понимать, как она работает. Предупредительный сигнал автоматически включится, если стабилизаторы не подняты по всем правилам, но при этом оператор пытается начать движение.
Чтобы предотвратить случайное движение машины, при срабатывании сигнала необходимо:
- установить рычаг переднего/заднего хода в пол. N (нейтральное);
- поднять опоры;
- удостовериться, что они их верхние части видны в отверстиях, как описано выше;
- только после этого выбрать режим переднего/заднего хода и начать движение.
Если вы всё сделали правильно, тревожный сигнал больше не включится.