Гидрораспределитель задний 25/624300, 25/615600 OEM
- Без первоначального взноса
- Без переплаты
- Срок 3, 4 и 6 месяцев
- До 500 000 ₽
Гидрораспределитель задний 25/624300 — управляющий узел гидравлической системы JCB
Технологическая функция и принцип действия гидрораспределителя
Гидрораспределитель задний 25/624300 JCB — высокоточный комбинированный многосекционный блок, управляющий подачей, рабочим давлением и перенаправлением гидравлического потока в сложных исполнительных органах экскаватора-погрузчика. Этот распределитель обеспечивает четкую и синхронизированную работу гидроцилиндров ковша, рукояти, стрелы и других задних навесных механизмов — от быстрого подъема до плавного опускания с защитой от «гидроудара» и внутренних утечек жидкости.
Высокое заводское качество изготовления блока гарантирует долговечность уплотнителей, плавный ход золотников, устраняет заедания и сбои даже при больших перепадах температур и высоких циклических нагрузках.
Конструктивные особенности и сборка узла
Корпус распределителя выполнен из износостойкого чугуна с точными заводскими каналами и посадками под распределительные золотники (4 шт). Конструкция тщательно выверена по местам установки уплотняющих элементов, крышек и возвратных пружин, соединений и уплотнительных резинок. Все ходовые детали защищены резиновыми пыльниками, манжетами и вайперами, что обеспечивает чистоту гидросистемы и сокращает износ рабочих поверхностей в агрессивной среде строительной площадки.
В расположении предусмотрены специальные воздушники, сливы, маслёнки-порты (для пресс-масленок), монтажные площадки и опорные фрикционные узлы для ограничения вибрации. Все это повышает общий срок службы и функциональную безопасность распределителя.
Признаки неисправности распределителя, когда необходима его замена
Гидрораспределитель требует обслуживания, ремонта или полной замены при:
- Нарушении работы отдельных контуров (недостаточном или некорректном движении стрелы, рукояти, ковша);
- Протечках масла в месте стыков крышек, осей рычагов, загрязнения внутреннего объема или появления эмульгированной жидкости;
- Потерях давления или медленной реакции на команды оператора;
- Чрезмерном усилии или «разбалтывании» рычагов управления;
- Характерных посторонних звуках, гуле под нагрузкой, вибрациях.
Своевременный подбор и замена распределителя исключает высокий риск аварии и разрушения узлов навесного оборудования. Оригинальное изделие гарантирует стабильный режим работы всех функций экскаватора.
Типовые ошибки и советы по обслуживанию
Распространённые ошибки:
- Неполная замена уплотнителей, использование неоригинальных колец или «кустарных» вайперов;
- Очистка распределителя растворителями, повреждающими внутренние каналы или резинки;
- Несоблюдение момента затяжки винтов крышек, что ведет к утечкам или перекосам золотников;
- Ошибочная сборка с оставшимися рыхлыми или изношенными возвратными пружинами.
Профессиональные рекомендации:
- При разборке полностью очищать и продувать все каналы, устанавливая комплект защитных элементов;
- Обязательно использовать только оригинальные комплекты пружин и вайперов по официальной комплектации JCB;
- После монтажа проконтролировать работу каждого из каналов, проверить давление на стенде, загерметизировать все соединения согласно мануалу по обслуживанию.
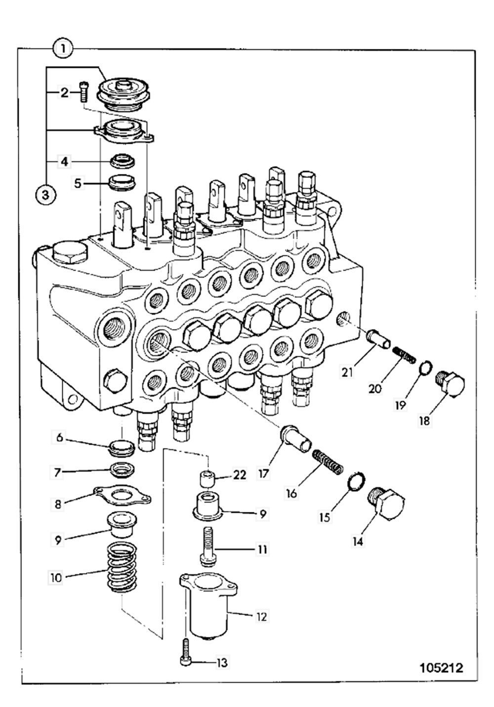
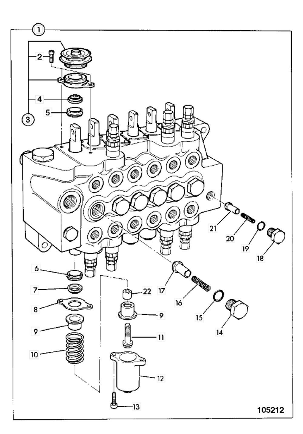
Таблица составных частей с изображения
| Ref | Part No | Description | QTY | Описание |
|---|---|---|---|---|
| 1 | 25/616600 | Valve excavator sideshift (Superseded) | 1 | 25/616600 Клапан экскаватора поперечного смещения (устаревший) |
| 1 | 25/623100 | Valve excavator | 1 | 25/623100 Клапан экскаватора |
| 1 | 25/624300 | Valve excavator sideshift | 1 | 25/624300 Гидрораспределитель задний экскаваторного смещения |
| 1B | 25/221271 | Spool ex digging | 4 | 25/221271 Золотник копания (4 шт.) |
| 2 | 25/975200 | Screw cap head | 6 | 25/975200 Винт с цилиндрической головкой (6 шт.) |
| 3 | 25/137011 | Boot flanged end | 6 | 25/137011 Защитный чехол с фланцем (6 шт.) |
| 4 | 25/624301 | Kit-repair dust boot | 1 | 25/624301 Комплект для ремонта пыльников |
| 4 | 25/975704 | Wiper | 6 | 25/975704 Протирочная шайба-вайпер (6 шт.) |
| 5 | 25/624304 | Breather | 1 | 25/624304 Воздухоотводчик |
| 5 | 25/975703 | Seal lip | 6 | 25/975703 Кромочный сальник (6 шт.) |
| 6 | 25/975703 | Seal lip | 6 | 25/975703 Кромочный сальник (6 шт.) |
| 7 | 25/975704 | Wiper | 6 | 25/975704 Протирочная шайба-вайпер (6 шт.) |
| 8 | 25/606102 | Retainer wiper | 6 | 25/606102 Кольцо-держатель вайпера (6 шт.) |
| 9 | 25/608201 | Retainer Spring | 12 | 25/608201 Удерживающая пружина (12 шт.) |
| 10 | 25/608202 | Spring (Boom, dipper, slew & bucket) | 4 | 25/608202 Пружина рабочего органа (4 шт.) |
| 10 | 25/608203 | Spring (Stabiliser) | 2 | 25/608203 Пружина стабилизатора (2 шт.) |
| 11 | 25/608204 | Screw Spring Retainer | 6 | 25/608204 Винт крепления пружины (6 шт.) |
| 12 | 25/608205 | Cover (With drain hole) | 6 | 25/608205 Крышка с дренажным отверстием (6 шт.) |
| 13 | 25/606110 | Screw cap | 12 | 25/606110 Винтовая крышка (12 шт.) |
| 14 | 25/606111 | Cap | 6 | 25/606111 Заглушка (6 шт.) |
| 15 | 25/606112A | O Ring | 6 | 25/606112A Уплотнительное кольцо (6 шт.) |
| 16 | 25/606113 | Spring | 6 | 25/606113 Пружина (6 шт.) |
| 17 | 25/606114 | Seat | 6 | 25/606114 Седло (6 шт.) |
| 18 | 25/606115 | Plug SAE | 1 | 25/606115 Пробка SAE |
| 19 | 25/606116 | O Ring | 1 | 25/606116 Уплотнительное кольцо (O-ring) |
| 20 | 25/606117 | Spring | 1 | 25/606117 Пружина |
| 21 | 25/606118 | Poppet | 1 | 25/606118 Клапан обратный |
| 22 | 25/606206 | Spacer | 6 | 25/606206 Проставка (6 шт.) |
Итог и технические рекомендации
Оригинальный гидрораспределитель задний 25/624300 — залог бесперебойной работы, безопасности и производительности гидромеханизмов JCB даже в условиях круглосуточных строительных работ. Элемент легко монтируется взамен вышедшего из строя узла, обеспечивает стабильность давления и длительный срок эксплуатации всей гидравлической сети спецтехники.

Выберите подходящий способ покупки запчастей и работайте с нами с комфортом!
Способы покупки:
- Оплата на расчетный счет с НДС
Оплата по счету для юридических лиц и ИП.
Реквизиты предоставляются после оформления заказа. - Оплата картой или QR (эквайринг)
Оплата картой через терминал в наших офисах.
Безопасные и мгновенные транзакции. - Рассрочка без переплаты
Условия рассрочки: - Без первоначального взноса - Без переплаты - Срок 3, 4 и 6 месяцев - До 500 000 ₽
Преимущества работы с РУСТЕХ:
- Гарантия на всю продукцию;
- Оперативная доставка в любой регион;
- Любые способы оплаты;
- Подробная консультация и поле продажная поддержка.
Мы предлагаем клиентам различные варианты доставки, чтобы сделать процесс покупки максимально комфортным:
Способы доставки:
- Доставка до транспортной компании
Мы бесплатно доставим ваш заказ до любой выбранной вами транспортной компании — например, «Деловые Линии», СДЭК и другие.
Дальнейшую доставку до вашего адреса осуществляет сама ТК, а вы оплачиваете её услуги.
Это особенно удобно для клиентов из других регионов России и стран СНГ. - Самовывоз в Москве
Вы можете самостоятельно забрать свой заказ по одному из наших адресов в Москве:
— Шоссе Энтузиастов, д. 51
— 32-й км МКАД (внешняя сторона), Автогипермаркет «ТРАКТ», Бокс 29 (1 этаж)
Пожалуйста, уточните готовность вашего заказа перед приездом, чтобы мы смогли быстро вас обслужить. - Курьерская доставка по Москве
Осуществляем доставку в Москве и ближайшем Подмосковье курьером в удобное для вас время.
Стоимость и сроки уточняйте при оформлении заказа.
Оплата курьерских услуг производится вами отдельно. - Яндекс Доставка
Экспресс-доставка, актуальная для Москвы и ближайших районов.
Для подключения этой услуги — свяжитесь с нашей службой поддержки.
Оплата выполняется по тарифам сервиса Яндекс Доставка заказчиком.
Преимущества работы с РУСТЕХ:
- Гарантия на всю продукцию;
- Оперативная доставка в любой регион;
- Любые способы оплаты;
- Подробная консультация и поле продажная поддержка.